服务热线

400-088-5696

PRODUCT SHOW

产品展示

联系我们

  • 电话:

    0512-68139771

  • 手机:

    18962118288

  • 邮箱:

    leirvo@163.com

  • 地址:

    苏州高新区昆仑山路189号

您现在的位置:首页 > 产品展示 > FZN25-12/FZR25-12D/T型户内高压真空负荷开关

 FZN25-12/FZR25-12D/T型户内高压真空负荷开关 


         FZN25-12/FZ(R)25-12D/T型户内高压真空负荷开关和FZRN25-12D/T125-31.5型户内高压真空负荷开关-熔断器组合电器是三相交流50Hz、12kV配电系统的控制和保护装置,产品无油、无毒、无燃火与爆炸危险,广泛使用于工矿企业及城市大楼配电站等场所。后者对变压器等电气设备的保护作用比断路器更可靠,特别适合于环网、双辅射供电单元和箱式变电站。
         FZN25-12D/T630-20型户内高压真空负荷开关(以下简称负荷开关)是三相交流50Hz、额定电压12kV的户内装置,适用于工矿企业配电所及变电站等场所,作为电气设施的保护和控制,用于分合负荷电流、闭环电流、空载变压器和电缆充电电流。它具有关合短路电流能力的接地开关。其操作机构可手动和电动,便于实现电力系统的三遥控制要求。
         FZRN25-12D/T125-31.5型户内高压真空负荷开关-熔断器组合电器(以下简称组合电器)是三相交流50Hz、额定电压12kV的户内装置,适用于工矿企业配电所及变电站等场合,作负荷控制和短路保护之用。它还具有关合短路电流能力的接地开关。其操作机构可手动和电动,便于实现电力系统的三遥控制要求。

型号及含义


技术参数(见表)


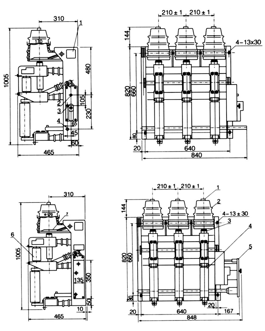
外形及安装尺寸图



图1负荷开关和组合电器外形及安装尺寸图图(不带面板)       图2负荷开关和组合电器外形及安装尺寸图图(带面板)
     1-铭牌  2-储能轴  3-脱扣器  4-接地刀轴