
FZW28-12(FFK)户外分界真空负荷开关适应于额定电压为12kV、额定频率50Hz的户外三相交流配电系统中,作为开、合负荷电流和关合短路电流之用。
FZW28-12(FFK)户外分界真空负荷开关适用于变电站、工矿企业及城、农网作保护和控制和城、农网自动化配电网络以及频繁操作的场所。
FZW28-12(FFK)户外分界真空负荷开关用于架空线路配电系统用的操作控制开关,有多种型式具有无油、机构简单、性能可靠无需维护等突出优点,至今已被广泛使用。该产品与FDR型故障检测器或RTU遥控终端装置等设备相结合,构成结构十分简单的配电自动化系统,它可以实现架空线路故障的自动定位和故障段的自动隔离。为了更新我国现有的配电开关设备,使之实现无油化和自动化为特征的配电设备改造的需要。
功能特点
自动闭锁相间短路故障:用户支线发生相同短路故障时,分界开关在变电站断路器或重合器保护跳闸后立即分闸并闭锁,变电站重合后,馈线上的其它分支用户迅速恢复供电;
快速定位故障点:用户支线事故造成分界开关保护动作后,责任用户停电,由其主动报送事故信息,电力公司派员现场可通过掌上电脑或通讯模块排查事故原因;
自动切除单相接地故障:用户支线发生单相接地故障时,分界开关自动分闸;变电站及馈线上的其他分支用户有感受不到故障的发生。
此开关可实现以下功能:速断保护、过流保护、三次重合闸、事件记录、防涌流保护、零序保护、实时时钟、重合闸后加速、实时状态查询、智能掌上电脑控制、本地/远程设置定值、故障主动上报、GSM短消息功能。
主要技术参数
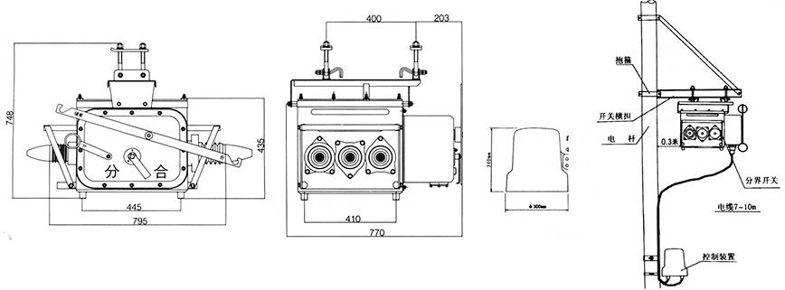
外形及安装尺寸图
使用环境
1.温度:-250C-+70℃;
2.海拔高度:2000m;
3.风速≤35米/秒,相对湿度≤95%;
4.抗震烈度:地震列度8度;
5.地面水平加速度1/4g,地面垂直加速度1/8g,安全系数1.7;
6.污秽等级:Ⅲ级,
7.最大覆冰厚度:10mm
8.系统中性点接地方式:中性点不接地/消弧线圈接地/小电阻接地系统。