服务热线

400-088-5696

PRODUCT SHOW

产品展示

联系我们

  • 电话:

    0512-68139771

  • 手机:

    18962118288

  • 邮箱:

    leirvo@163.com

  • 地址:

    苏州高新区昆仑山路189号

您现在的位置:首页 > 产品展示 > GW5-40.5(72.5)户外高压交流隔离开关

 GW5-40.5(72.5)户外高压交流隔离开关 

        GW5-40.5(72.5)户外高压交流隔离开关为交流50Hz的户外高压电器设备,额定电压等级有40.5kV,供高压线路在无负载情况下进行开合,以及对被检修高压母线、断路器等电气设备带电的高压线路进行电气隔离之用,也可用于开、合小的电容或电感电流。
        本户外隔离开关满足GB1985《交流高压隔离开关和接地开关》、IEC60129《交流隔离开关与接地开关》以及GB/T11022《高压开关设备和控制设备标准的共用技术要求》等标准的相关规定。

型号含义


结构特征
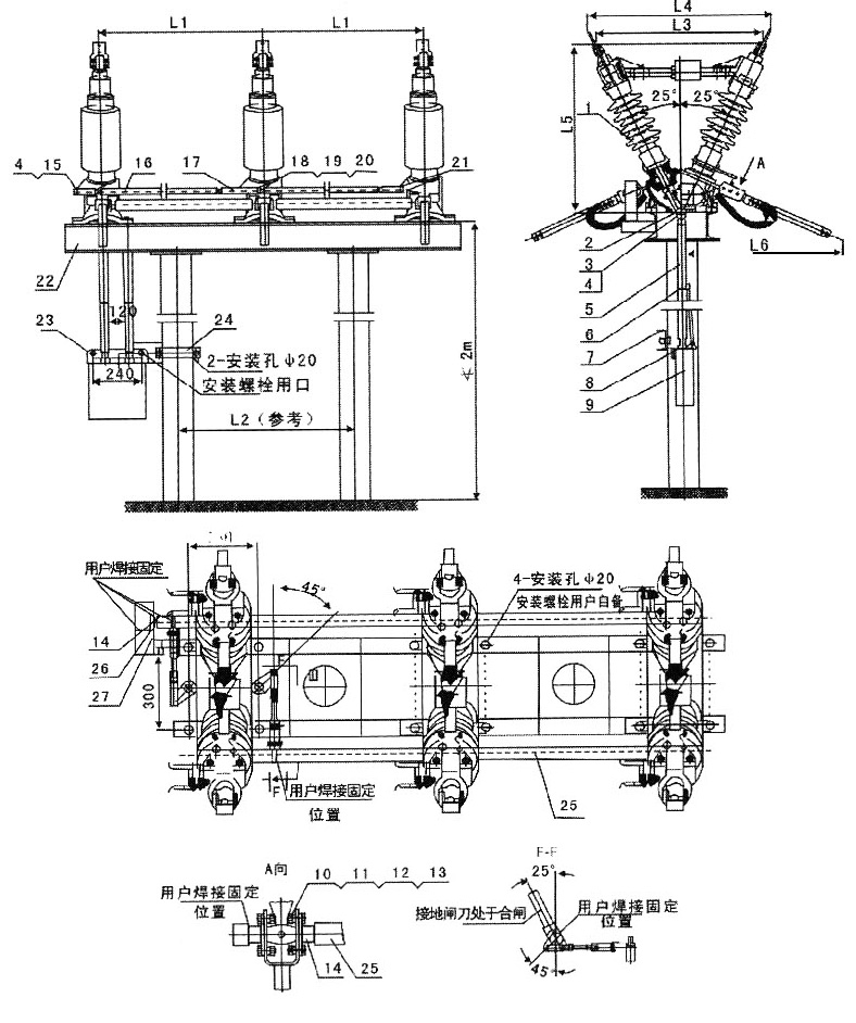
        每台隔离开关单极由两个支柱绝缘子,分别固定在一个底座上,交角为50°构成V型结构,主要由以下几部份组成底座部份、支柱绝缘子、接线座部份、触头部份、接地刀、接地静触头、接线端子等。
        本隔离开关分不接地、单接地和双接地三种,主轴与接地刀之间具有机械联锁,并带辅助开关。开关的操作方式有手动和电动两种。
        本隔离开关具有如下几方面特点:
                1、转动灵活,开合自如。由于采用滚动轴承传动,所以在转动过程中较为灵活,操作比较省力。
                2、通过伞齿轮机构来传动,从而保证两柱的分合闸动作一致。
                3、分合闸有限位装置,保证触头接触在最佳位置。同时,操作完毕手柄被锁环扣住,以免发生有无意识的外力作用下自由分合,从而保证了分合位置的可靠性。
                4、触头开距大,有足够裕量的绝缘隔离断口,从而保证了其安全性。
                5、接地与不接地共有三种方式,主轴与接地之间有可靠的机械联锁,从而保证安全,用户可根据需要选定接地方式。
                6、根据用户的方便,操动机构可以安装在任一极的下方,操动效果一样。

技术参数(见表)


外形及安装尺寸图



使用环境条件
        1.海拔:不超过3000m;
        2.周围空气温度:上限40℃,下限-25℃;
        3.风速不超过35m/s:
        4.地震烈度不超过8度;
        5.污秽等级不超过Ⅲ级;
        6.覆冰厚度不大于10mm;
        7.安装场所应无易燃、易爆危险,无化学腐蚀及剧烈振动。